Haenel SLB 2000+ (Plus)

Wissenswertes zur Büchse
Bedienungsanleitungen im PDF-Format zum Download
Überschneidung von Ersatzteilen der SR1, SLB 2000+ und SLB 2000
Ein großer Teil der Ersatzteile überschneiden sich bei den genannten Modellen. So kann es sein, dass ein Ersatzteil von Haenel oder Merkel oder Heckler & Koch geliefert wird, obwohl die vorliegende Büchse von einem der beiden anderen Hersteller angeboten wird.
Zur Erklärung:
Das Design und die Produktion der ursprünglichen Heckler & Koch SLB 2000 wurde von Haenel übernommen, leicht modifiziert und als SLB 2000+ auf den Markt gebracht. Zugleich hat die Merkel SR1 ein sehr ähnliches Design, wobei auch hier viele vorhandene Bauteile der SLB 2000(+) übernommen wurden. Die Ersatzteilversorgung liegt jetzt ebenfalls (größtenteils) bei Haenel und Merkel, sodass auf der Produktseite möglicherweise ein anderer Hersteller angegeben ist, als der Ihrer Büchse. Trotzdem handelt es sich bei allen angebotenen Ersatzteilen um originale Ersatzteile.
Technische Daten
| Kaliber | .223 Rem. / 7x64 / .308 Win. / .30-06 Spring. / 8x57 IS / 9,3x62 Magnum: 7mm Rem. Mag. / .300 Win. Mag. |
| Funktionsprinzip | Gasdruck-Selbstlade-System |
| Verschluss | Drehkopfverschluss |
| Feuerart | Einzelfeuer |
| Abzug | Direktabzug |
| Lauf | kaltgeschmiedet aus Spezialstahl mit Kolbenhalssicherung, Züge und Felder |
| Visier, mechanisch | Drückjagdvisierung |
| Visier, optisch | Schwenkmontage, Picatinny/Weaver |
| Magazinkapazität | 2 Patronen, 5 Patronen, 10 Patronen |
| Magazinkapazität Magnum | 2 Patronen, 5 Patronen |
| Maße | |
| Gesamtlänge | 1060mm / 1070mm (Magnum-Kaliber) |
| Lauflänge | 500mm / 510mm (Magnum-Kaliber) |
| Gewichte | |
| Gesamtgewicht | ca. 3,2kg |
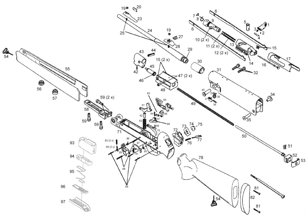
Ersatzteilliste und Explosionszeichnung
| Zeichnung | Benennung | Ersatzteil-Nr. |
|---|---|---|
| 32 | Zylinderschraube (2 x) | 4001 117 |
| 34 | Schraube | 5003 021 |
| 35 | Bolzen | 5003 020 |
| 36 | Spannstift | 4001 144 |
| 37 | Schieber | 218717 |
| 38 | Sperre | 218718 |
| 39 | Druckfeder | 209102 |
| 40 | Bolzen | 5003 044 |
| 42 | Gewindestift | 929911 |
| 43 | Gasabnahme | 209910 |
| 44 | Spannstift | 927605 |
| 45 | Kolben | 209908 |
| 46 | Kolbenring (3 x) [alte Nummer: 205383] | 102026 |
| 47 | Achse (2 x) [alte Nummer: 218751] | 218697 |
| 48 | Antrieb | 209909 |
| 49 | Druckfeder | 218712 |
| 50 | Federführung | 209911 |
| 51 | Steckclip | 983595 |
| 52 | Puffer | 209915 |
| 53 | Pufferblech | 218710 |
| 55 | Vorderschaft, vst. | 5003 042 |
| 56 | Zylinderschraube (2 x) DIN 7984 M5x10 | 987386 |
| 57 | Zylinderschraube (2 x) DIN 6912 M5x12 | 4001 511 |
| 58 | Schaftaufnahme | 5003 074 |
| 60 | Sicherung | 218696 |
| 61 | Hahn, vst. | 218680 |
| 62 | Druckbolzen | 218693 |
| 63 | Druckfeder | 218694 |
| 64 | Druckfeder | 218691 |
| 65 | Klinke | 218690 |
| 66 | Klinke | 218703 |
| Zeichnung | Benennung | Ersatzteil-Nr. |
|---|---|---|
| 67 | Abzugshebel | 218689 |
| 68 | Spannstift | 927388 |
| 69 | Gewindestift | 928593 |
| 70 | Abzug | 218686 |
| 71 | Kasten | 218679 |
| 72 | Einsatz | 218640 |
| 73 | Abdeckung | 218695 |
| 74 | Sicherungsscheibe | 218642 |
| 75 | Achse | 218684 |
| 76 | Druckfeder | 218682 |
| 77 | Raststück | 218683 |
| 78 | Hinterschaft, vst. | 5003 043 |
| 81 | Holzschraube (2 x) | 985614 |
| 82 | Schaftkappe 20mm | 234983 |
| 83 | Druckfeder (2 x) | 218701 |
| 84 | Ausstoßer | 218700 |
| 85 | Magazinhalter | 218676 |
| 86 | Schenkelfeder | 218705 |
| 87 | Halter | 218774 |
| 88 | Achse (2 x) | 218697 |
| 89 | Achse (3 x) | 218698 |
| 90 | Schenkelfeder | 218704 |
| 91 | Druckfeder | 218699 |
| 93 | Magazingehäuse | - |
| 94 | Zubringer | - |
| 95 | Zubringerfeder | - |
| 96 | Einlage | - |
| 97 | Magazinboden | - |
Magazinübersicht
| Magazin, vollständig | Magazingehäuse | Zubringer | Magazinboden | Einlage | Zubringerfeder | Überzug | Einsatz | Zwischenlage | |
|---|---|---|---|---|---|---|---|---|---|
| 2 Schuss | |||||||||
| .30-06/9,3x62/8x57IS/7x64/.270 Win | 218651 | 218652 | 218653 | 218654 | 218655 | 218656 | |||
| .308 Win | 218663 | 209917 | 218665 | 218654 | 218655 | 218692 | |||
| .300 Win Mag | 218657 | 218658 | 218659 | 218654 | 218655 | 209119 | |||
| 5 Schuss | |||||||||
| .30-06/8x57IS/7x64/.270 Win | 218791 | 218779 | 209135 | 218739 | 218753 | 209105 | 209106 | ||
| 9,3x62 | 209912 | 209820 | 209135 | 218739 | 218753 | 209105 | 209106 | ||
| .308 Win | 209913 | 209110 | 218665 | 218739 | 218753 | 209822 | 209106 | ||
| .300 Win Mag | 209136 | 209135 | 218739 | 218753 | 5003 094 | 209100 | 209922 | ||
| 6 Schuss | |||||||||
| .223 Rem | 5003 570 | 5003 050 | 5003 038 | 218739 | 218753 | 5003 075 | 209106 | 5003 557 | |
| 10 Schuss | |||||||||
| .30-06/8x57IS/7x64/.270 Win | 218741 | 218678 | 209135 | 218739 | 218753 | 218740 | 209100 | ||
| 9,3x62 | 209679 | 209136 | 209135 | 218739 | 218753 | 218740 | 209100 | ||
| .308 Win | 209680 | 209918 | 218665 | 218739 | 218753 | 209821 | 209100 |
Erklärung:
durchgestrichen = Ersatzteil wird von Heckler & Koch nicht mehr vertrieben und kann somit leider nicht mehr angeboten werden.
farbiger Link = Verlinkung zur Produktseite, diesen Artikel führen wir direkt im Shop.
Haftungsausschluss
Die Informationen und Daten dieser Seite wurden sorgfältig recherchiert und stammen im Wesentlichen aus dem offiziellen Handbuch zur vorgestellten Büchse des Herstellers. Trotzdem können alle hier genannten Informationen nur als Anhaltspunkt dienen – im Zweifelsfall zählt der tatsächliche Zustand der vorliegenden Waffe und der fachmännische Rat eines Büchsenmachers. Das vollständige Handbuch kann in der Regel auf unserer Seite heruntergeladen werden.
Falls Daten auf dieser Seite fehlerhaft sein sollten, oder Sie ergänzende Informationen haben, können Sie uns gerne über das Kontaktformular oder direkt per E-Mail kontaktieren.

